Sign In | Join Free | My chinacomputerparts.com
China Shenzhen Fire Power Control Technology Co., LTD logo
Shenzhen Fire Power Control Technology Co., LTD
Verified Supplier

4 Years

Home > IMU Accelerometer Gyro >

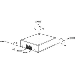
High Performance MEMS Inertial Measurement Unit IMU Sensor ADIS16488 Replacement

Shenzhen Fire Power Control Technology Co., LTD
Trust Seal
Verified Supplier
Credit Check
Supplier Assessment
Contact Now

High Performance MEMS Inertial Measurement Unit IMU Sensor ADIS16488 Replacement

High Performance MEMS Inertial Measurement Unit IMU Sensor ADIS16488 Replacement

High Performance MEMS Inertial Measurement Unit IMU Sensor ADIS16488 Replacement Key Specifications Measuring range ±450°/s Bias instability 0.3°/h Random walk 0.15º/√h Scale factor repeatability ...

Send your message to this supplier
 
*From:
*To: Shenzhen Fire Power Control Technology Co., LTD
*Subject:
*Message:
Characters Remaining: (0/3000)